Installation guidelines – Waterworks Formwork Thermostatic Control Valve Trim with Metal Knob Handle User Manual
Page 2

PRODUCT SUPPORT 800.927.2120 8am - 6pm EST
FORMWORK
Thermostatic Control Valve Trim with Metal Knob Handle
Installation Guidelines
Page 2 of 3
Rev - 01
4.8.2014
These guidelines have been prepared for the professional contractor to aid in the installation of:
FORMWORK THERMOSTATIC CONTROL VALVE TRIM WITH METAL KNOB HANDLE (STYLE No. FMTH01)
All dimensions are based on original specification and are subject to change and variation.
Please consult your Design Associate for current specifications.
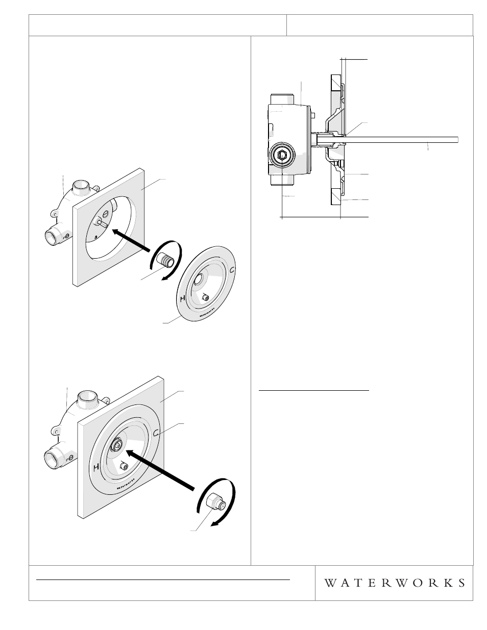
4. Remove the TRIM PLATTE and ALL THREAD TUBE
then cut the ALL THREAD TUBE at the point marked
in Step 3.
¾ DO NOT cut the end of the tube that has the internal
threads.
5. Thread the ALL THREAD TUBE back onto the VALVE
until it seats then slide the TRIM PLATE over the ALL
THREAD TUBE as shown in Figure - 02.
¾ NOTE: A GASKET for the TRIM PLATE is provided. If
desired, a bead of caulk or a clear silicone may be
applied where the TRIM PLATE contacts the finished
wall. DO NOT use putty.*
FIGURE - 02
6. Thread the TRIM NUT onto the ALL THREAD TUBE
and securely tighten as shown in Figure - 03.
FIGURE - 03
FINISHED WALL
VALVE
ALL THREAD TUBE
TRIM PLATE
FINISHED WALL
VALVE
ALL THREAD TUBE
TRIM PLATE
TRIM PLATE
FINISHED WALL
VALVE
TRIM NUT
TRIM PLATE
FINISHED WALL
VALVE
TRIM NUT
¾ See Figure - 04 for steps 7, 8 & 9
FIGURE - 04
7. Fully insert the SQUARE TUBE into the TRIM NUT then
by feel, make sure it slides over the CARTRIDGE STEM
and is fully seated as shown in Figure -04.
¾ When seated properly onto the CARTRIDGE STEM, the
SQUARE TUBE will have rotational resistance.
8. Mark the SQUARE TUBE at the point where it passes
through the FACE OF THE TRIM NUT as shown in
Figure - 04.
9. Remove the SQUARE TUBE and cut it 1/8" behind the
mark made in Step 7 as shown in Figure - 04.
10. Re-insert the SQUARE TUBE back into the TRIM NUT
making sure it is slightly recessed into the TRIM NUT.
TEMPERATURE CALIBRATION:
¾ The risk of scalding exists until the installer has
properly calibrated/adjusted the temperature setting.
11. Turn on the water supply then turn on a diverter or
wall valve to run water through the VALVE.
12. Insert a bladed screw driver into the SQUARE TUBE
and slowly rotate the SQUARE TUBE clockwise to
attain full cold then rotate it counterclockwise to attain
full hot. Verify a full range of temperature exists.
¾ It is approximately 2 complete rotations from full cold
to full hot.
13. With water running, rotate the SQUARE TUBE to
adjust the temperature to the maximum desired
bathing temperature, verified with a thermometer.
Turn the water off and make sure not to change this
temperature setting.
TRIM PLATE
FACE OF
TRIM NUT
FINISHED WALL
SQUARE TUBE
CENTER
OF INLET
VALVE
1/8"
CUT SQUARE TUBE
BEHIND FACE OF TRIM NUT
ROUGH-IN DEPTH
TRIM PLATE
FACE OF
TRIM NUT
FINISHED WALL
SQUARE TUBE
CENTER
OF INLET
VALVE
