Search
Directory
Brands
Quartz manuals
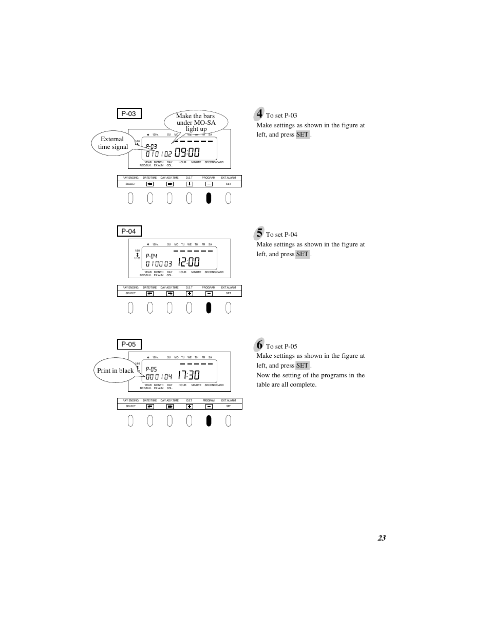
Clock
SIMPLEX 500
Manual
External time signal – Quartz SIMPLEX 500 User Manual
Page 25
Text mode
Original mode
External time signal | Quartz SIMPLEX 500 User Manual | Page 25 / 34
Pages:
1
…
23
24
25
26
27
…
34
wrong Brand
wrong Model
non readable