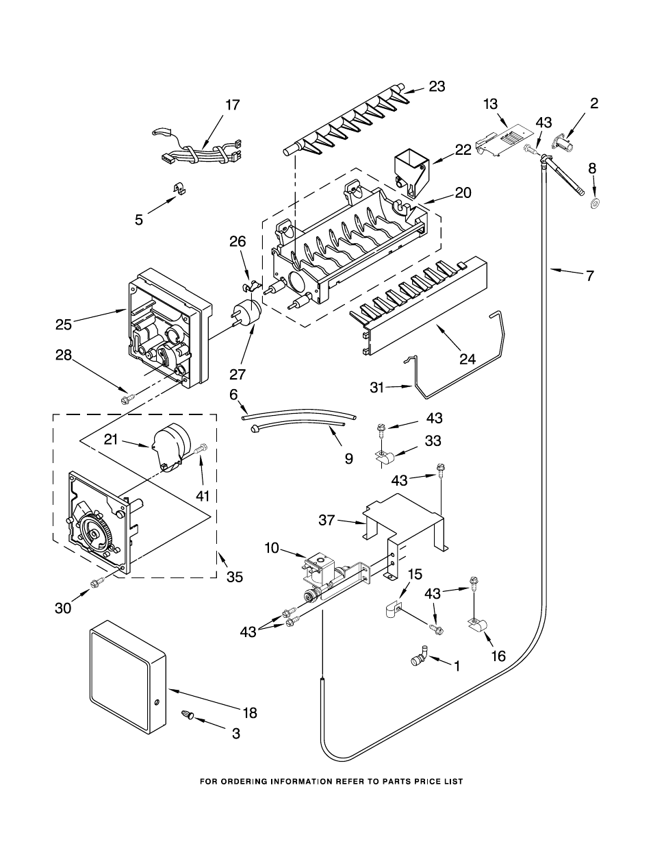
Icemaker, Icemaker parts – KITCHENAID KBLS36FKB02 User Manual

Page 17

Icemaker, Icemaker parts | KITCHENAID KBLS36FKB02 User Manual | Page 17 / 18 Icemaker, Icemaker parts | KITCHENAID KBLS36FKB02 User Manual | Page 17 / 18
This manual is related to the following products: