Directory
Brands
Emerson manuals
Clock
iC200
Manual

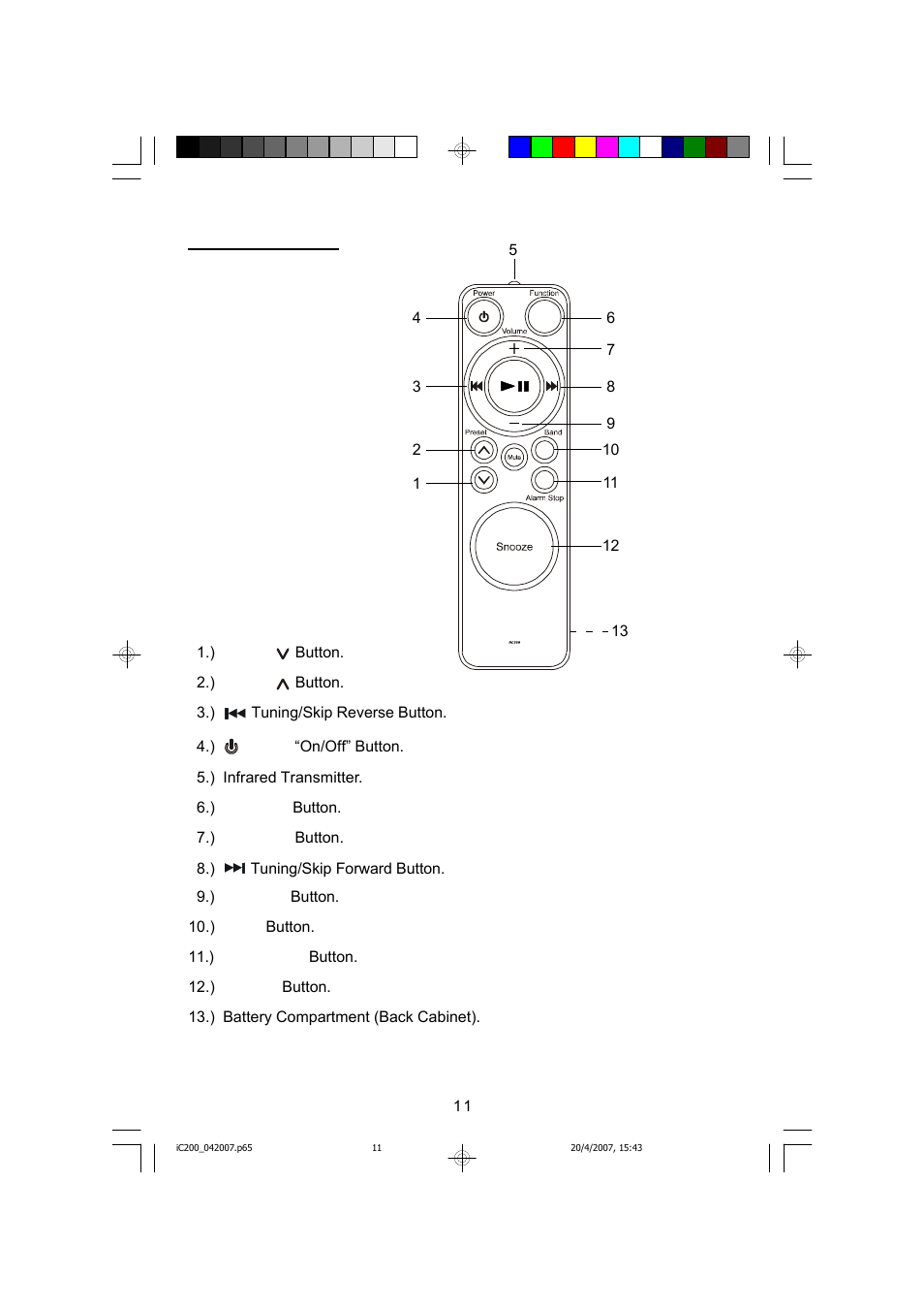
Remote control – Emerson iC200 User Manual

Page 12

  • Text mode
  • Original mode
Remote control | Emerson iC200 User Manual | Page 12 / 48 Remote control | Emerson iC200 User Manual | Page 12 / 48
Pages: 1 … 10 11 12 13 14 … 48
  • wrong Brand
  • wrong Model
  • non readable
See also other documents in the category Emerson Clock:
  • SMARTSET CKS3029C (23 pages)
  • GP808 (15 pages)
  • CKS2288 (18 pages)
  • CKS5055B (23 pages)
  • SB816 (16 pages)
  • CKS2237 (16 pages)
  • CKS2000N (16 pages)
  • SMARTSET CKS1850C (22 pages)
  • SMARTSET CKD5809C (39 pages)
  • CKD9905 (22 pages)
Home Brands Popular manuals Recently added
Manuals Directory

© 2012–2025, azmanual.top
All rights reserved.