Ribbon advance mechanism – Epson FX-870/1170 User Manual
Page 133

Principles of Operation
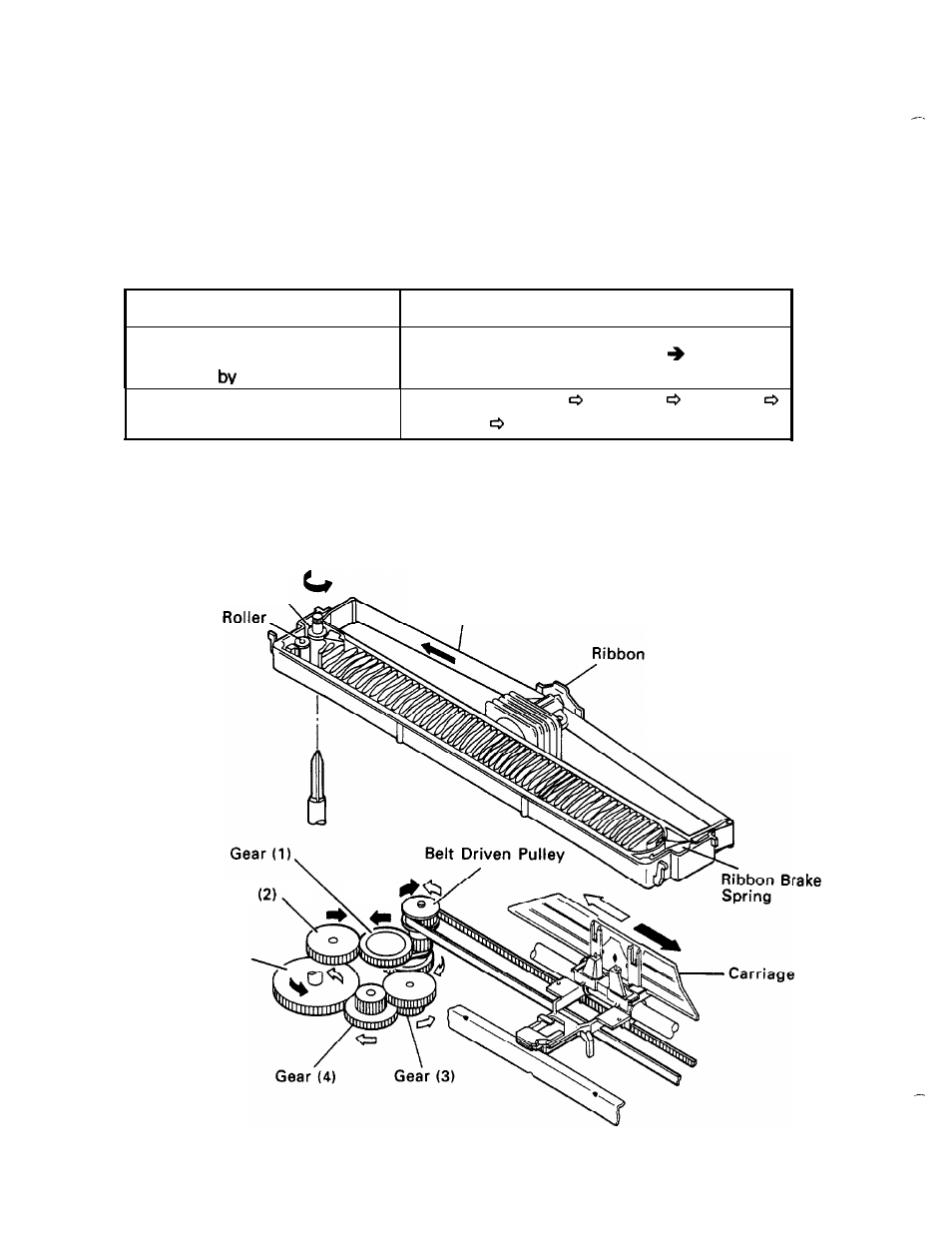
Ribbon Advance Mechanism
The ribbon is held between the ribbon advance roller (ribbon driving gear) and the ribbon pressure
roller. When the carriage moves on the shaft, the timing belt turns the belt driven pulley, and the
torque is transmitted to the ribbon driving gear through the gear train. The ribbon driving gear
rotates counterclockwise no matter what direction the carriage moves, because the planetary gear
is used in the gear linkage.
Table 6-2. Ribbon Advance Gear Linkage
Direction of Carriage Movement
Gear Linkage
Left to right
Belt-driven pulley 3 Gear 1 Gear 2 3
(indicated the black arrow)
Ribbon-driving gear
Right to left
Belt-driven pulley Gear 1 Gear 3
(indicated by the white arrow)
G e a r 4
Ribbon-driving gear
The ribbon brake spring, attached to the exit slot of the cartridge case, prevents slack in the ribbon
and keeps the ribbon tension at an appropriate level. The ribbon mask prevents the ribbon from
brushing against the paper.
Ribbon Advance Roller,
Ribbon Pressure
Ink Ribbon
I’
Mask
Gear
Ribbon
Driving Gear
6-18
Figure 6-21. Ribbon Advance Mechanism
Epson FX-870/1170
