Search
Directory
Brands
Larco manuals
Relay
Guardian II
Manual
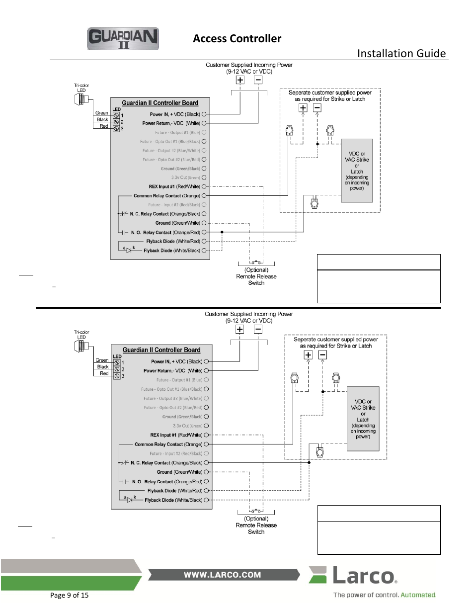
Access controller, Installation guide – Larco Guardian II User Manual
Page 9
Text mode
Original mode
Access controller, Installation guide | Larco Guardian II User Manual | Page 9 / 15
Pages:
1
…
7
8
9
10
11
…
15
wrong Brand
wrong Model
non readable
See also other documents in the category Larco Relay:
433 MHz Receiver & Transmitter
(2 pages)
433 MHz Vestibule Sequencer
(2 pages)
Installation and Care of Larco Mats
(2 pages)
U-WAV
(2 pages)
Universal Wall Box
(2 pages)
Wall Switch
(2 pages)
Labor Saver Mat System
(2 pages)
Safety Mat Systems
(12 pages)