
12
(JP)
4
RGB1 OUT RGB1
1
R R-Y /G Y /B B-Y OUT RGB/
BNC
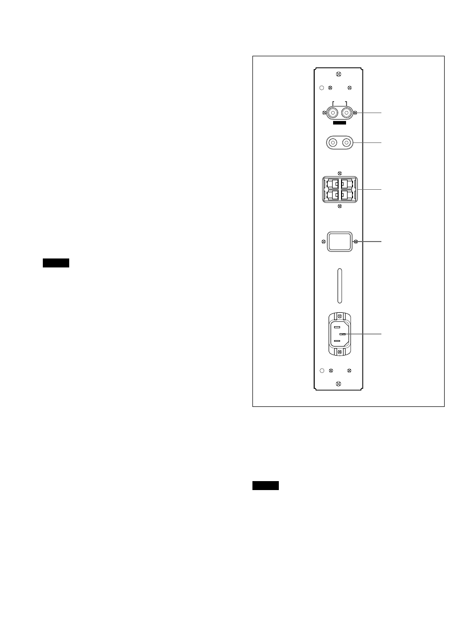
:
HD/COMP OUT
/
BNC
:
VD OUT
BNC
:
AUDIO OUT L/R
:
5
LINE OUT
3
VIDEO OUT
BNC
:
Y/C OUT
DIN4
:
AUDIO OUT L/R
:
6
REMOTE RS-232C
DIN8
1
MONITOR OUT AUDIO L/R
2
CONTROL S IN/OUT
S
MONITOR OUT
CONTROL S
SPEAKERS
(6-16
Ω
)
AC IN
SERVICE CODE
AUDIO
R
L
IN
+
R–
+
L
–
OUT
VARIABLE
5
4
3
2
1
8.8.