Search
Directory
Brands
Sony manuals
Monitors
500A3WE
Manual
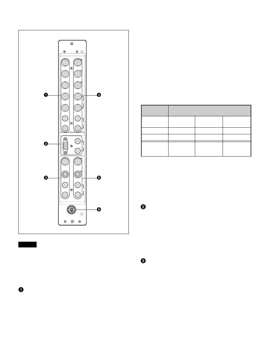
Rechtes anschluァfeld, Rechtes anschlußfeld, Einspeisen. speisen sie das p – Sony 500A3WE User Manual
Page 89: Signal am anschluß b (b-y) in und das p
Text mode
Original mode
Rechtes anschluァfeld, Rechtes anschlußfeld, Einspeisen. speisen sie das p | Signal am anschluß b (b-y) in und das p | Sony 500A3WE User Manual | Page 89 / 244
Pages:
1
…
87
88
89
90
91
…
244
wrong Brand
wrong Model
non readable
This manual is related to the following products:
510A2WG
500A3WG
500A3WJ
510A2WJ
510A2WE
PFM-500A3WU
PFM-510A2WU
See also other documents in the category Sony Monitors:
CPD-200SF
(27 pages)
CPD-100SF
(30 pages)
CPD-E240
(24 pages)
DDM-2810CSU
(14 pages)
CPD-G410R
(24 pages)
CPD-20SF2
(48 pages)
GDM-F420
(52 pages)
GDM-F520
(52 pages)
HMD-A220
(88 pages)
BVM-D32E1WA
(82 pages)
BVM-D24E1WU
(5 pages)
GDM-500PST
(104 pages)
XBRITE SDM-HS74P
(2 pages)
CPD-E430
(52 pages)
GDM-500PST9
(104 pages)
GDM-17SE2T5
(63 pages)
X82/B
(2 pages)
CPD-520GS
(55 pages)
GDM-F500R
(148 pages)
CPD-300SF
(33 pages)
CPD-120VS
(32 pages)
CPD-200GS
(57 pages)
CPD-100GS
(57 pages)
GDM-90W01T
(91 pages)
CPD-G220S
(19 pages)
GDM-20OPS
(63 pages)
BVM-D SERIES BVM-D14H1E
(5 pages)
GDM-F500T9
(84 pages)
DDM-2802CU
(28 pages)
CPD-E200
(48 pages)
CPD-G400P
(148 pages)
CPD-E530
(52 pages)
CPD-G420S
(64 pages)
CPD-17F03
(33 pages)
CPD-100GST
(92 pages)
CPD-210GS
(18 pages)
CPD-100SFT
(44 pages)
GDM-17SE2T
(40 pages)
CPD-E100
(62 pages)
GDM-200PST9
(104 pages)
CPD-100GS
(22 pages)
CPD-E400P
(132 pages)
CPD-E100E
(88 pages)
CPD-G520P
(64 pages)