Directory
Brands
Freescale Semiconductor manuals
Hardware
MC68HC08KH12
Manual

Freescale Semiconductor MC68HC08KH12 User Manual

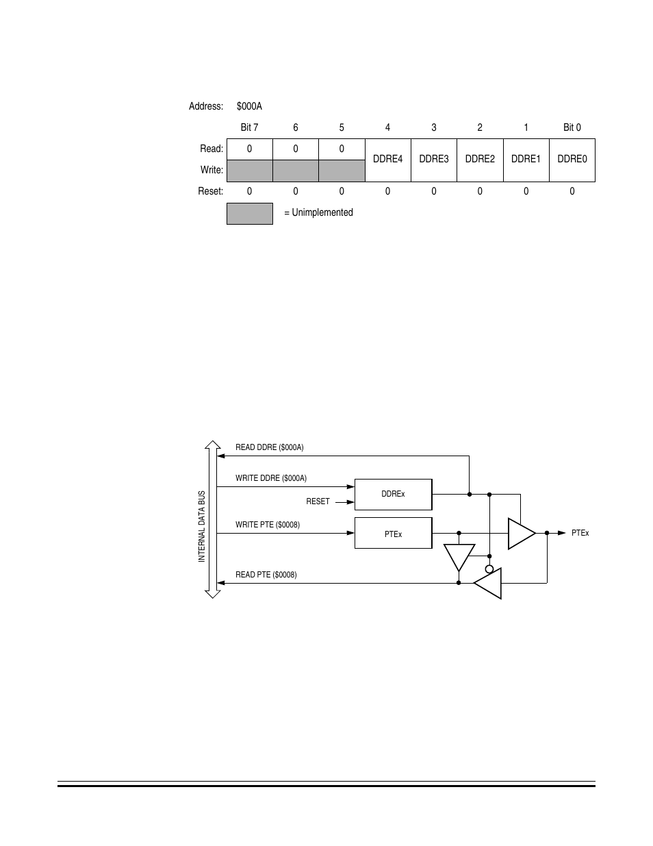
Page 197

  • Text mode
  • Original mode
Freescale Semiconductor MC68HC08KH12 User Manual | Page 197 / 262 Freescale Semiconductor MC68HC08KH12 User Manual | Page 197 / 262
Pages: 1 … 195 196 197 198 199 … 262
  • wrong Brand
  • wrong Model
  • non readable
See also other documents in the category Freescale Semiconductor Hardware:
  • TWR-MCF52259-Ethenet (166 pages)
  • ColdFire MCF52212 (576 pages)
  • MCF5481 (1032 pages)
  • MC68HC908MR16 (282 pages)
  • 56F8322 (137 pages)
  • MPC5200B (762 pages)
  • Demonstration Board DEMO9S08AC60E (24 pages)
  • SEC2SWUG (44 pages)
  • StarCore SC140 (760 pages)
  • MC68HC908QT2 (30 pages)
  • i.MX27 PDK 1.0 (53 pages)
  • Windows Embedded CE 6.0/Windows CE 5.0 i.MX31 PDK 1.4 (48 pages)
  • Microcontrollers (892 pages)
  • Target Interface MMDS0508 (86 pages)
  • MPC8260 (1360 pages)
Home Brands Popular manuals Recently added
Manuals Directory

© 2012–2025, azmanual.top
All rights reserved.